深度剖析恒源PF反击式破碎机工作原理及结构特征
反击式破碎机工作原理:
反击式破碎机是一种利用冲击能来破碎的破碎机械。当物料进入板锤作用区时,受到板锤的高速冲击而破碎,并被抛向安装在转子上方的反击装置上再次破碎,然后又从反击衬板上弹回到板锤作用区重新破碎。此过程重复进行,直到物料被破碎至所需粒度,由机器下部排出为止。调整反击架与板锤之间的间隙可达到改变物料出料粒度和物料形状的目的。
反击式破碎机是一种利用冲击能来破碎的破碎机械。当物料进入板锤作用区时,受到板锤的高速冲击而破碎,并被抛向安装在转子上方的反击装置上再次破碎,然后又从反击衬板上弹回到板锤作用区重新破碎。此过程重复进行,直到物料被破碎至所需粒度,由机器下部排出为止。调整反击架与板锤之间的间隙可达到改变物料出料粒度和物料形状的目的。

本机在后架上采用自重式保险装置,当非破碎物料进入破碎腔后,前后反击架后退,非破碎物料从机内排出。
反击破结构和特征:
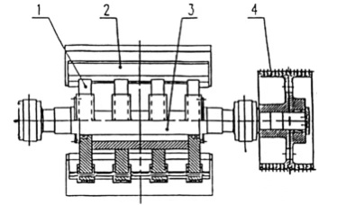
如下图1所示,反击式破碎机主要由转子、反击架、机架、棘轮翻盖(液压翻盖)和传动部分等零部件组成。

1、转子 2、反击架 3、机架
图1 反击破碎机结构图
转子部分
转子体是本机心脏部分(见下图2)。转子架采用钢板焊接而成,板锤被固定在正确的位置,轴向限位装置能有效的防止板锤窜动。
板锤采用高耐磨材料制成。整个转子具有良好的动静平衡和耐冲击性。
机架
机架是由三部分坚固、抗扭的箱形焊接结构组成,彼此用高强度螺栓连接。为保证安全可靠地更换易损件,铰接式机架盖可用机械装置或液压装置打开。建议用户在机架上方设置起吊装置,这将帮助你更为快捷地打开上机架以更换易损件或检测设备。机架两侧均设有检测门。
反击架
本机装有前、后二个反击架,均采用自重式悬挂结构。每一反击架被单独地支承在破碎机机架上。破碎机工作时,反击架由自重保持其正常工作位置;过铁时,反击架迅速抬起,异物排除后,又重新返回原处。反击架与转子之间的间隙可通过悬挂螺栓进行调整。反击衬板用高强度螺栓固定在反击架上。反击衬板可以从磨损较大的地方更换到磨损较小的地方。

1、转子架 2、板锤 3、轴 4、槽轮
图2 转子部件图
传动部分
传动采用三角皮带传动。与主轴配合的槽轮采用胀套联接,便于装拆。转子的速度可通过更换电机槽轮来调整。

反击式破碎机出厂图

反击破工程现场案例图
反击式破碎机生产线视频:
点击观看 【颚破+反击破】生产线视频
反击破厂家简介:
上海恒源冶金设备有限公司自成立以来,一直专注于砂石生产线设备的研发、生产与销售,公司主营产品主要有破碎、制砂、磨粉、输送筛分设备及配套备件等。位于江苏启东滨海工业园区的六万平米大型矿机生产基地,具备先进的数控加工设备和产品质检检测仪器,设备精度高、速度快,具有很强的生产能力,欢迎广大客户前来实地工厂考察和咨询,期待与您携手共赢!
采购联络方式:
恒源主站:ozelders.cc
国内销售:021-58973788
国际销售:021-33781259
全国服务热线:400-820-2021
欢迎新老客户致电,预约参观,我们将为您提供完善的碎石、制砂生产线成套设备解决方案,让专业的人做专业的事,让您我一起携手,共赢未来!
往期恒源微信公众号内容链接回顾:
产品系列
生产线案例
发货系列
本公司一直坚信好的资源和信息需要分享,本文暨上海恒源冶金设备有限公司官方网站的原创发布,转载请注明出处!
技术文章
返回首页
相关文章
恒源碎石机设备碎石生产线实现石料粉碎加工,满足不同的加工需求
2019-07-17
反击式破碎机易损件的更换与安装
2019-05-12
鹅卵石是所有的石头中,加工出来的沙子最好的石材,鹅卵石天然砂加工设备抢占市场先机
2019-08-29
沙子的价格暴涨! 沙子断了! 项目停止!
2019-11-06
调节反击式破碎机出料粒度的方法
2023-09-09
颚式破碎机现场工作视频
2020-04-07
张家口首都水源涵养功能区和生态环境支撑区建设规划(2019-2035年)
2019-08-09
破碎设备的选购技巧
2019-05-10
大型河卵石生产线的破碎机选型及工艺流程方案
2020-06-03
时产1200吨基建骨料破碎制砂生产线
2020-04-07
圆锥破碎机机型的选择-上海破碎机厂家恒源机械
2019-05-12
严厉打击并依法查处非法开采矿产资源的行为,藤县太平镇对2处非法采石场开展打击取缔行
2019-07-30
上海恒源路桥集团放假安排
2025-09-30
反击式破碎机试机视频
2020-04-07
圆锥破和反击破10个方面的差异
2023-03-31
【机制砂设备】机制砂设备哪家好?哪个厂家质量好?欢迎来厂里观察
2019-08-05
日产2000吨砂石生产线设备配置及注意事项
2024-09-19
【砂石质量】民生不可马虎!住建部、水利部对砂石发展提供指导意见
2019-10-14
制砂设备-鹅卵石制砂机发货
2020-04-18
颚式破碎机完整的安全操作规程
2019-05-10






